Photos
Dessins techniques
| EXAMPLE OF ORDER : | Référence-l1 32-230-4-32 |
Information
Goupille cylindrique taraudée, acier
Définition
Une goupille est un axe métallique, de forme cylindrique, plein ou fendu, permettant d'assembler ou de positionner deux pièces entre elles.
Matière
- Acier à outils.
- Alliage au chrome.
- Trempée, revenue.
- Résistance 60 (± 2 HRc).
- Tolérances m6.
- Non garantie chanfreinée des deux côtés.
Utilisation
- Une goupille cylindrique peut avoir plusieurs applications dans le domaine industriel.
- Elle peut être utilisée afin de maintenir deux parties d'un assemblage.
- Une goupille peut également servir d'axe de rotation ou de pièce de sécurité.
Montage
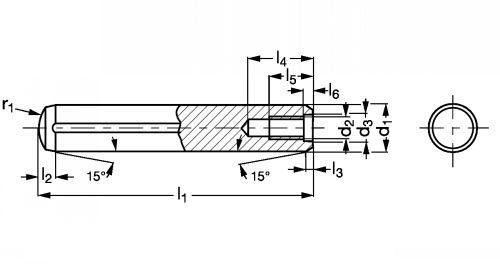
- Les goupilles cylindriques taraudées sont parfaitement adaptées aux trous borgnes. Cette goupille possède un méplat qui empêche la compression de l'air, évitant ainsi toute détérioration du trou ou risque de rejet de la goupille du logement. Elle dispose aussi d'un chanfrein d'entrée de 15° facilitie l'insertion dans son logement. De plus, le taraudage permet l'utilisation d'un extracteur de goupille pour faciliter son démontage.
: Ajouter au panier pour faire une demande de prix
: Télécharger le fichier 3D
: Les références en stock sont marquées D
: Délai d'approvisionnement indiqué sous réserve de disponibilité fournisseur
: Afficher le schéma avec l'ensemble des cotes de la référence correspondante
STANDARD PARTS

